สิทธิบัตรฉบับใหม่เผย! แท่นชาร์จ IPHONE ในอนาคตจะมาพร้อมกับ SIRI ด้วย
ข่าวไอทีอัพเดทวงการเทคโนโลยีของเราในวันนี้มีมาฝากกันอีกแล้วครับ ยังคงมีข่าวคราวและข้อมูลที่น่าสนใจมาให้ได้ติดตามกันตลอดเช่นเคย วันนี้มีข่าวคราวจากทาง Apple กันอีกแล้ว และก็ไม่พ้นข้อมูลเกี่ยวกับ iPhone ครับ หลังจากที่มีข่าวลือออกมาอย่างต่อเนื่องว่า iPhone 8 ที่กลำงัจะเปิดตัวช่วงปลายปีนี้ จะมาพร้อมกับระบบการชาร์จไร้สาย Wireless Charging ซึ่งหลายคนกำลังลุ้นกันว่าจะจริงหรือไม่ และล่าสุดก็ดูเหมือนว่าจะพิมีเค้าบ้าง เมื่อมีสิทธิบัตรฉบับใหม่ที่เผยให้เห็นงแท่นชาร์จไร้สายอัจฉริยะ ที่อาจจะทำมาเพื่อ iPhone 8 ที่เราจะได้เห็นกันในอีกไม่กี่เดือนนี้ก็เป็นได้
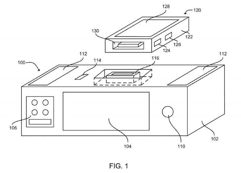
โดยมีการค้นพบสิทธิบัตรฉบับใหม่ของ Apple ที่เผยให้เห็นอุปกรณ์ปริศนาที่สามารถใช้เป็นแท่นสำหรับอุปกรณ์อิเล็กทรอนิกส์แบบพกพาได้ โดยสิทธิบัตรฉบับนี้มีรายละเอียดที่บอกถึงแทนนนี้ว่าจะมาพร้อมกับไมโครโฟน มีชิปเซ็ตประมวลผล พร้อมด้วยะระบบการโอนถ่ายพลังงานแบบไร้สาย พร้อมกันนี้ยังติดตั้งงระบบจดจำเสียงพูด Voice Recognition มาด้วย นั่นอาจจะทำให้เป็นไปได้ที่ว่า Apple จะมีการใส่ผู้ช่วยอย่าง Siri มาไว้ในแท่นชาร์จไร้สายที่ว่านี้เพื่อมำงานร่วมกับ iPhone รุ่นใหม่ๆ ก็เป็นได้ครับ
แต่ก็ยังไม่มีใครบอกได้ว่า ข้อมูลอุปกรณ์จากสิทธิบัตรใบนี้จะถุกนำมาใช้งานเมื่อไหร่ จะได้เห็นมาพร้อมกับ iPhone 8 หรือไม่ก็ต้องมาลุ้นกันครับ
ที่มา : Mashable
ลุ้นรับ 4,000 บาท สรุปให้ชัด คนละครึ่งพลัส เฟส 2 ลงทะเบียนวันไหน ใครบ้างมีสิทธิ์
รวบคาบ้าน สาวดาว X ทำคอนเทนต์ 18+ เอาต์ดอร์กับคนแปลกหน้า ขายกลุ่มลับ รายได้เกือบแสนต่อเดือน
เลขเด็ดงวดวันที่ 1 ธันวาคม 68..คำนวณตามตารางเลขกำลังวัน รับประกันแม่นยำ!
ผงชูรส...เพื่อนแท้หรือผู้ร้ายในครัว? มาทำความเข้าใจกันแบบง่ายๆ!
คุณสงสัยไหมว่า สัตว์ตัวไหนที่ตรงกับนิสัยของคุณเอง 🤔
😻 ชวนเข้ามาดูภาพถ่ายที่สัตวแพทย์จะพิสูจน์ให้เห็นว่าไม่มีคนไข้ที่ไหนน่ารักไปกว่าสัตว์เลี้ยงของพวกเราอีกแล้ว 😘
"หนอนปลอก" ที่เกิดอยู่ตามผนังบ้าน มาจากไหน กำจัดยังไงให้หมดเกลี้ยง
รวมภาพตลกขำขันประจำวันนี้ วันที่สายลมหนาวเริ่มโปรยปรายเข้ามาจนรู้สึกได้
เด็กหญิงวัย 12 ปีเสียชีวิต หลังถูกครูลงโทษ เพราะมาสาย 10 นาที
เปิดผลชันสูตรย้อนหลัง 30 ปีมาดอนน่าแห่งละติน" นักร้องดังจบชีวิตเพราะแฟนคลับ
เปิดดวงชะตาโคตรเสือ: ทายนิสัยความเป็นเสือในตัวคุณ ตามวันเกิด!
อิทธิพลแห่งดวงดาว สะท้อนถึงบุคลิกภาพผ่านเครื่องดื่มแก้วโปรด ในคาเฟ่ของคุณ
😻 ชวนเข้ามาดูภาพถ่ายที่สัตวแพทย์จะพิสูจน์ให้เห็นว่าไม่มีคนไข้ที่ไหนน่ารักไปกว่าสัตว์เลี้ยงของพวกเราอีกแล้ว 😘
ณัฐวุฒิ โพสต์ข้อความผ่าน FACEBOOK ซัด “อภินิหารกฎหมาย” เล่นงาน “ทักษิณ” คดีภาษี 1.7 หมื่นล้าน-ม.112
เปิดผลชันสูตรย้อนหลัง 30 ปีมาดอนน่าแห่งละติน" นักร้องดังจบชีวิตเพราะแฟนคลับ
เด็ก 10 ขวบ เอารถแม่ไปขับ แต่พ่อดันโดนจับติดคุก




